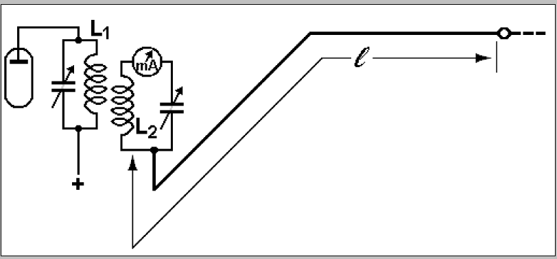
Fuchs antenna has been known for many years. It is known as antenna with very narrow band width, which is not desirable at most of HAM operators.
But this narrow band width is actually an advantage, because antenna beside high efficiency also functions as preselector when tuned.
With this in mind Bostjan, S52FT has started experimenting with tuner for his base Fuchs antenna. With excellent results he started developing tuner for QRP version. Since he is a SOTA activator, he made QRP version of tuner especially for SOTA activation where tuner is close to operator and can easily be tuned to max. efficiency by listening to max. Rx noise. That normally is a sign that antenna is optimally coupled to transceiver. This tuner was tested at many SOTA activation’s by S52FT and S53OM. Modification of this tuner with remote control is based on S52CQ home location, where he works with QRP mcHF radio.
Resonance Fuchs antenna tuner is available in blue version (white has been temporary sold out), as seen on the photos. For more information please visit: http://www.svet-el.si/english/index.php/shop/product/83-resonant-fuchs-antena-tuner-qrp
This is the first batch of tuners so those of you who are keen to test this interesting antenna tuner hurry up.
Best 73 de S52CQ, Jure and S52FT, Bostjan
Image taken from Rothammel’s Antennabook 1969


